
作者 | Gary
来源 | 汽车服务世界(ID:asworld168)
欢迎供稿 | 陈凯:15827582449
12月2日,中驰车福披露的公告显示,公司在11月26日收到纳斯达克两份不合规通知。

(中驰车福披露公告)
第一份通知指出,中驰车福未能维持纳斯达克全球市场上市所要求的1500万美元最低公众持股市值,公司拥有180天的合规宽限期。
第二份通知指出,中驰车福收盘竞价连续十个交易日保持在0.10美元或更低,触发了潜在的摘牌程序,公司已于12月2日向听证小组提交听证请求,正等待听证小组作出裁决。
两份通知都是针对中驰车福股票表现低迷的情况,中驰车福面临着摘牌退市的风险。
事实上,早在今年2月5日,中驰车福就收到纳斯达克退市警示函,距其上市还不到半年时间;3月25日,中驰车福再次收到退市警示函。
过去一年多时间,中驰车福的股价已经从4美元公开发行价,跌至如今0.057美元,累计跌幅98.57%。
可以说,中驰车福已经处于退市边缘。
作为国内汽配供应链平台的代表企业之一,中驰车福选择2024年于美股上市,从过去一年多的表现情况来看,基本上可以定性为“流血上市”行为,这对于其他汽配供应链平台,可能起到一定警示作用。
在国内,汽车后市场已经从增量市场进入存量市场,再加上出海、新能源、智能化等变量,汽配供应链平台已经进入新的发展周期,过去十多年的资本化道路并不算成功。
中国汽配行业以及汽配供应链平台,依然任重道远。
一、不到一年时间,收到多次退市警示函
2024年8月28日,中驰车福正式在纳斯达克IPO,这是国内首家上市汽配供应链平台。

(2024年8月28日中驰车福上市)
当时,根据中驰车福披露的财务数据,截至2024年3月31日的前6个月,中驰车福营收为4814.2万美元,并且多个财务周期处于亏损状态。
换句话说,中驰车福上市时期,整体业务并未处于一个良好的状态,也因此,上市第一天收盘价2.62美元,下跌34.5%;不到一个月,股价下跌超过70%。
时间走到今年,针对股价问题,中驰车福收到多次警告。
2月5日,中驰车福收到纳斯达克退市警示函,主要因为1美元股价问题,也就是我们熟知的1美元退市规则:上市公司股票连续30个交易日平均收盘价低于1美元时触发退市警告。
之后,中驰车福在4月28日至5月15日的连续14个工作日内公司股价等于或高于1美元,暂时缓解退市风险。
3月25日,公司因为不符合最低市值要求5000万美元,再次收到纳斯达克退市警示函;不过,4月9日,中驰车福收到纳斯达克通知,已经重新符合此要求。
7月2日,中驰车福再次因为1美元问题,收到纳斯达克退市警示函,当时被授予180天的合规期限,截止日是今年12月29日。
接踵而来的,就是前文提及的两份不合规通知,最新状态是处于听证请求裁决阶段,还未正式摘牌退市。
值得注意是,自今年5月23日之后,中驰车福的股价一路下跌,再也没有恢复到1美元的水平。
总的来说,目前中驰车福面临着三重退市压力,分别是“1500万美元最低公众持股市值”规则、“收盘竞价连续十个交易日保持在0.10美元”规则,以及“1美元退市”规则。
毫无疑问,中驰车福正处于退市边缘。
二、毛利不到2%,股价跌幅近99%
股价的低迷,很大程度上来自于业务的不景气。
今年9月5日,中驰车福披露了最近一份财务报告,财务周期是截至今年3月31日的6个月时间。
在6个月的周期内,中驰车福营业收入为7990万美元,同比增长65.9%,如果按照汇率7来计算,半年营收水平为5.5亿元人民币。
在盈利水平上,中驰车福的毛利为140万美元,毛利率只有1.7%;经营亏损从210万美元扩大到810万美元;净利润也处于亏损状态,从470万美元扩大到530万美元。
在营收结构上,中驰车福正逐渐平衡汽配业务和新车业务占比,其中,汽配业务收入增长556万美元,整体占比达到98.7%,新车业务收入下降239万美元。
这份半年财报,虽然营收增幅比较可观,但是对比国内主流汽配供应链平台,比如快准车服2022年透露的43.8亿元营收水平,存在不小的差距。
所以,再次观察中驰车福的股价曲线,就不难理解一路下跌的走势。

(中驰车福股价走势)
截止12月2日,中驰车福的最新股价为0.057美元,累计跌幅98.57%,最新市值651.97万美元,在4600万人民币左右。
作为对比,在上市之前,中驰车福完成12轮融资,根据已披露的数据,累计融资金额超过5亿元人民币。
中驰车福的价值已经大幅缩水。
三、15年多次转型,最终选择流血上市
中驰车福成立于2010年。
汽车服务世界提出过,在中国汽配供应链平台的发展历程中,中驰车福是一个值得研究讨论的案例,这背后有创始人的背景、融资的轮次和金额、颠覆传统汽配城的初衷等因素。
作为一个没有行业经验、从零开始探索汽配行业的创业公司,中驰车福在发展过程中几乎尝试了所有模式:从车型件+易损件自营模式,到易损件整合+自营模式,到退出交易环节的供应链金融模式,到如今汽配+汽车商城业务模式。
中驰车福的多次转型经历证明,中国汽配行业很难快速找到所谓的高维度模式,从而优化甚至颠覆传统汽配城业态,至少不是通过资本烧钱短期内就能达到这一目的。
然而,由于完成多轮融资,资本市场需要一个出口,上市就成为一个不得不做的选择。
事实上,中驰车福的上市历程前后持续了5年时间。
早在2019年1月,中驰车福宣布与君威资本签约,后者成为前者纳斯达克上市顾问及全球协调人,全面启动美国上市工作,计划于2019年内完成IPO。
此后,由于口罩事件、业务水平、财务数据等诸多因素影响,直到2024年8月28日,中驰车福才正式在纳斯达克IPO。
这是一个不折不扣的流血上市选择。
当然,上市不是最终目的,也不是灵丹妙药,并未帮助中驰车福扭转业务颓势。
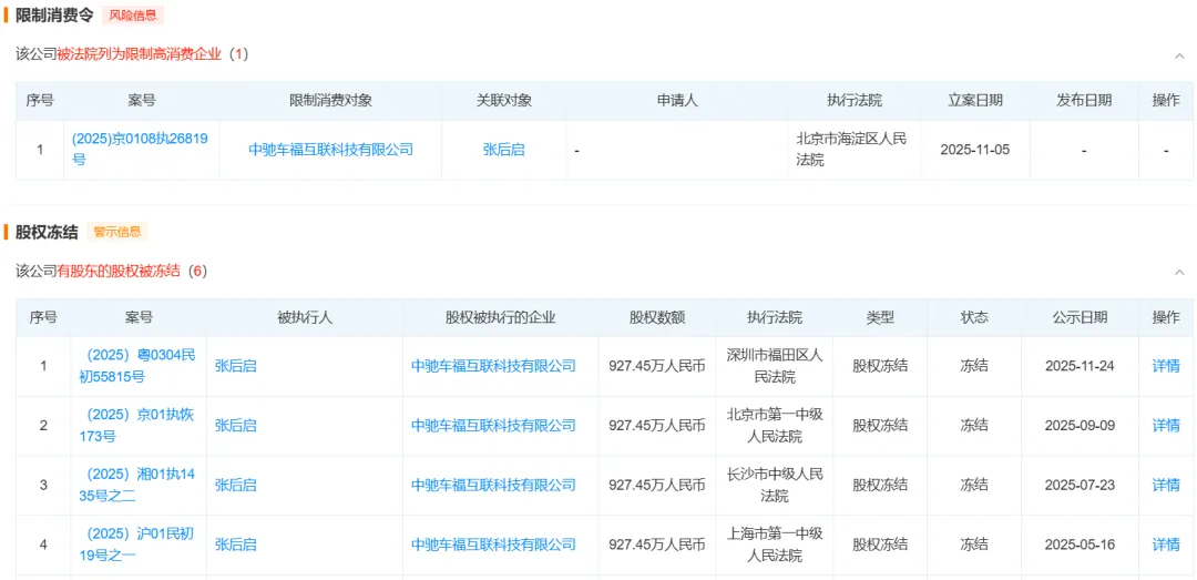
除了美股市场的低迷,在国内,通过第三方平台查询到,今年以来,中驰车福遭遇了股权冻结、限制消费令等诸多负面情况。

(第三方平台信息)
由此看出,退市可能还不是中驰车福最为紧迫的课题,如何优化战略、提振业务,早日实现盈利,才是更为根本的任务。
当然,这不是一件轻松的事情。
四、汽配供应链平台任重道远
中驰车福不是唯一一家有志于上市的汽配供应链平台。
最近几年,多家汽配供应链平台也在为上市做准备,有的是公开场合,有的是私下推进,这同样离不开汽配供应链平台过去十多年资本化的影响。
根据汽车服务世界统计,在汽配赛道,完成融资的企业数量达到42家,累计融资数量为109次,累计融资金额粗略估计不低于175亿人民币。
然而,从结果上来看,超过半数完成融资的公司已经倒闭,整个汽配赛道的资本化过程并不算成功。
这其中,几家依然存活的代表性汽配平台,都在今年步入新的时间节点,比如开思、快准车服、三头六臂等先后度过十周年。
另外,康众汽配也进入三十周年,同时宣布了汽配业务下一阶段的战略方向——“新合伙店”模式,意味着从直营模式全面转型合伙模式。
与此相对的,甲乙丙丁宣布解散,遗留下来加盟商款项、供应商账期等诸多问题;另外,还有多家汽配供应链平台陷入困境,包括股权冻结、资金紧张、门店关停等,这其中就包括中驰车福。
所以说,相比于勉强上市甚至流血上市,汽配供应链平台更需要保持定力,坚持修炼内功,提高整个业务模型的效率。
在十周年期间,快准车服提出了“打持久战”的战略方向,说明当下的汽配供应链平台仍然需要深耕细作,优先保证正常经营,从而顺利渡过行业转型期。
汽配本就是一个慢行业,追求规模和效率的平衡,需要坚持长期主义。
如今,在新消费常态、新能源、智能化、海外市场等众多因素的影响下,全球汽配业务都步入深水区。
汽配供应链平台,与其一味地追求规模,探求上市的路径,还不如找到一条稳定的自我造血路径,从而顺利走向下一个行业周期。